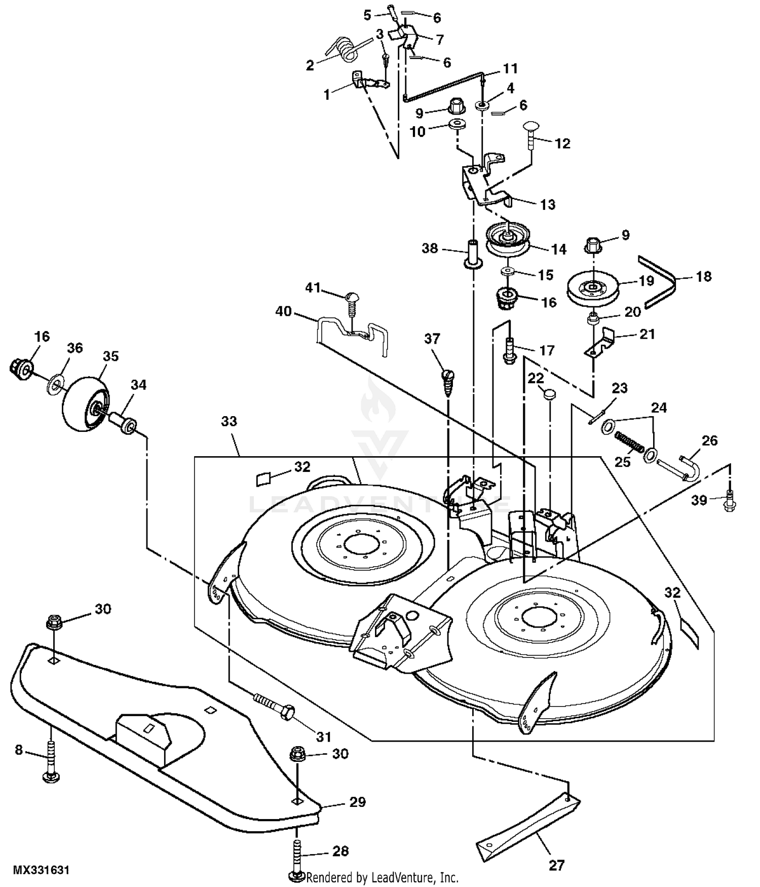
40 john deere 42 snow blower parts diagram
01.02.2022 · B2b kajang prima. email protected] Do you have part manual for Dixon 4516 ZTR 2000. 3. Used only this summer after buying from my neighbor and didn’t want to sell but I am moving long distance and don’t have a trailer for it. 01.02.2022 · Running and ready clear snow! ,800 Nov 04, ... Alternator, Battery & Charger Parts Auger Parts Axle, Roller, Shaft, Wheel Parts Bag Parts Bearing Parts Belt Parts Blade Parts Blower Wheel & Fan Blade Parts Bracket ... 2019. John Deere Kawasaki 9 Oregon Belt - Standard belt for deck drive fitsSUGGESTS. 2007 Chevrolet Colorado Regular Cab 5 ...
10.08.2009 · After the kids were done school I was planning on buying a John Deere full sized tractor like the 2720 or even a 3000 series with a cab and a 60″ front mount snow blower since I have a 1100′ driveway with a bad hill and a sharp curve in it so plowing snow in the winter with an old Bronco is a challenge without getting stuck.
John deere 42 snow blower parts diagram
tipped pcd inserts in 80 degree diamond shape C for hard turning non-ferrous metals of aluminum, the pcd insert cutting edges are made with polycrystalline diamond, indexable inserts with pcd working tips are precision cutting tools, which are used in cnc super fine finish machining, turning and milling automobile engine block, cylinder head, gearbox, cast aluminum alloy with silicon … Newsletter sign up. In subscribing to our newsletter by entering your email address you confirm you are over the age of 18 (or have obtained your parent’s/guardian’s permission to subscribe ... 19.01.2022 · 1998 Ford F-150 Pickup with 8' Plow, Craftsman Upright Tool Boxes, New Items From Christmas Lights to Tooth Brushes, Garden Tools, Shop Tools, Pyrex, Antiques, Furniture, Oil Jars, Antique License Plates, Traffic Lights, Battery Chargers, Auto Parts, Marey Water Heater, Horse Harness Equipment, Replica Model Cars & Trucks, Oil Lamps, Hand Tools, …
John deere 42 snow blower parts diagram. 14.10.2019 · Buy Bercomac 700423-1 Direct. Free Shipping. Check the Berco (40") Universal Tractor Snow Cab ratings before checking out. Since 1961, Cub Cadet lawn and garden equipment has been proudly Built in America at our world-class manufacturing facilities. Learn more here. After a quick look around most things looks fine. The seat switch doesn't seem to be working (like it won't shut off the machine when you get off the seat.)but don't know If that's related. Also the engage switch is stopping the machine from starting when it's the switch it engaged so don't think it's the engage switch. It has been recently switched from the mower to the blower but looks like everything's fine. Any ideas? UNK the , . of and in " a to was is ) ( for as on by he with 's that at from his it an were are which this also be has or : had first one their its new after but who not they have – ; her she ' two been other when there all % during into school time may years more most only over city some world would where later up such used many can state about national out known university united …
Just bought a John Deere 316. Had a few tractors in my life, this is my first Deere. Been looking forever waiting for the right deal. Finally found her. One of the main reasons for it is for snow removal. I’m up in Canada have a long drive and we tend to get tons of the white stuff. I’m just not sure what to cross reference to find the right snow blade for it. Also want to make sure I get the right mounting hardware as experience tells me looking for parts after the fact is a huge headache. ... The only electronics on my skid steer controls is a single button to shift between the 2 speeds. Instead of a seperate joystick to operate my snow blower chute I'd like to upgrad the joystick to have the needed buttons but I can't find anything anywhere. Do you guys have any suggestions? Our skid steer stopped blowing heat so we are replacing the blower motor and we need to know where it is located. We have a snow blower (only used for 2 winters and not that many times each winter). If we paid around $1500, what is reasonable to ask for it? We have tire chains/weights, etc. Where should I list it? Thoughts?
Here are some parts off my old Corley 395 sawmill. It is the Spring receder. Spring, brackets, and pedal. I have included pictures of the 4 parts in this auction. These were in use until I got a newer mill. They appear to be in good shape. The spring I bought new while I had it. The other parts were with the mill when I bought it. Sucked up a piece of wood which got lodged in the part behind the auger shaft, the fan thing that actually throws the snow. I've removed the wood but now the fan thing that throws the snow won't move. The snowblower sounds like the auger is turning but it is not, nor is the part that actually throws the snow. What do you guys think is wrong with it? 19.01.2022 · 1998 Ford F-150 Pickup with 8' Plow, Craftsman Upright Tool Boxes, New Items From Christmas Lights to Tooth Brushes, Garden Tools, Shop Tools, Pyrex, Antiques, Furniture, Oil Jars, Antique License Plates, Traffic Lights, Battery Chargers, Auto Parts, Marey Water Heater, Horse Harness Equipment, Replica Model Cars & Trucks, Oil Lamps, Hand Tools, … Newsletter sign up. In subscribing to our newsletter by entering your email address you confirm you are over the age of 18 (or have obtained your parent’s/guardian’s permission to subscribe ...
tipped pcd inserts in 80 degree diamond shape C for hard turning non-ferrous metals of aluminum, the pcd insert cutting edges are made with polycrystalline diamond, indexable inserts with pcd working tips are precision cutting tools, which are used in cnc super fine finish machining, turning and milling automobile engine block, cylinder head, gearbox, cast aluminum alloy with silicon …
0 Response to "40 john deere 42 snow blower parts diagram"
Post a Comment