Iklan 300x250

45 john deere 350 sickle mower parts diagram

jd 350 sickle mower operators manual - Yesterday's Tractors Manual states the there should be a maximum of 24 empty links inside the spring on the 350 mower. I hooked up the bottom of the spring to the 23rd link. The last empty link bolts to the arm on top of the cutter head shown below. With this setting the inner shoe "rides" across the ground and the outer shoe "floats" across the ground. JOHN DEERE 350 Auction Results - 31 Listings | AuctionTime ... JOHN DEERE 350. Other Hay and Forage Equipment. John Deere 350 Sickle Bar Mower Local Farmer Owned 7' Cut 540 PTO This item is located near Farmington, IL FOR QUESTIONS ABOUT THE AUCTION, CALL Taylor:217-671-3425 or Garrett:217-671-3553 *This item is selling AS IS with no guarantees. All sales are final.

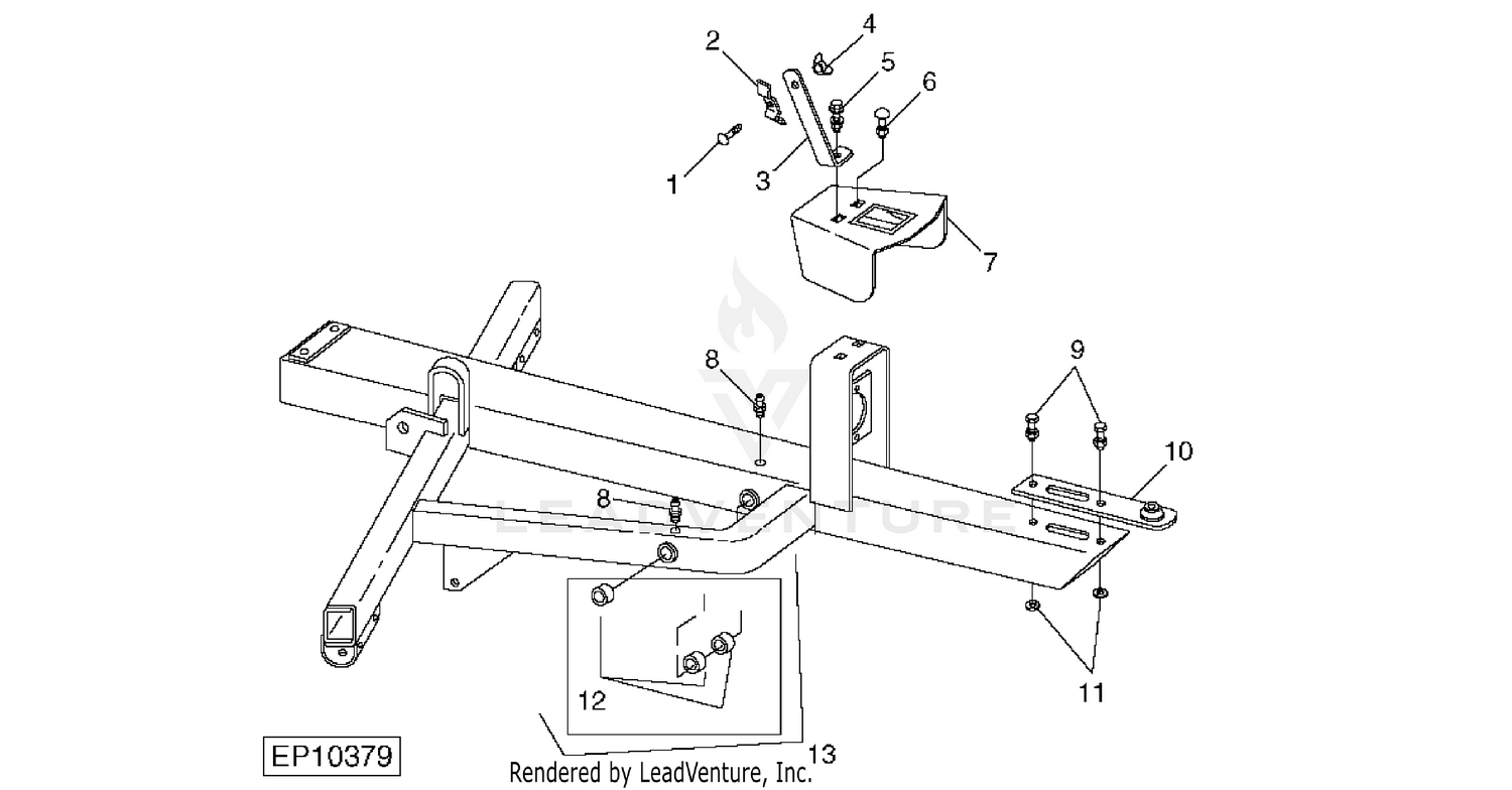
John Deere 350 - MOWER, SICKLE (MOWER, SICKLE), spare ... online catalog john deere 350 - mower, sickle (spare parts) mower, sickle john deere 350 - mower, sickle. 350 and 450 mowers. decal kit (450) [b24] decal kit (350) [b22] quick-hitch frame (category 2 hitch) [b21] outer shoe divider [b20] grass divider and arm [b19] inner shoe subsole [b18] cutterbar knife guards (non-clog) [b17] knives and ...

John deere 350 sickle mower parts diagram

John deere 350 sickle mower parts diagram

John Deere Parts Diagram & Parts Search - Green Farm Parts John Deere AG, Lawn & Garden and CWP Equipment Parts Search. John Deere parts lookup tool and diagram is an incredible online source. It is a complete catalog that shows you detailed parts diagrams of every part of your machine. This online parts catalog is robust and easy to use. Searching for your John Deere parts online has never been easier. Thank you for your interest in In 2014, 0 million worth of property Unleash the power of a car wash in your own garage with the 5 gal. reese drum mower Models include 2400. 5 Ft. NOT FOR PROFITI do not own this content#drum #kick #sample #freedrumkits #redditdrumkits #drumloop #lofidrumkit #lofidrum #producers Family Owned + Operated for Over 40 Years. it 350 mower 9 ft barExpress … John Deere Sickle Mower Parts - Waltstractors.com John Deere 350, 450 Sickle Mower Parts. Grassboard (Swathboard) Mower Pittman---2014. Knife Clip---2014. Ledger Plates---2014. Guards---2017. Walt's Tractor Parts | Hay Baler, Sickle Mower, Disc Mower, Planter and Field Chopper Parts | Sickle Mower Parts | John Deere Sickle Mower Parts

John deere 350 sickle mower parts diagram. PDF John Deere 5 Sickle Bar Mower Parts Manual - Jensales john deere model: no. 5 caster wheel power mower this is a manual produced by jensales inc. without the authorization of john deere or it's successors. john deere and it's successors are not responsible for the quality or accuracy of this manual. trade marks and trade names contained and used herein are those of others, Parts Manual for John Deere 350 450 Sickle Bar Mower ... PARTS MANUAL FOR JOHN DEERE 350 450 SICKLE BAR MOWER CATALOG HAY GRASS. Report item. - opens in a new window or tab. Description. Shipping and payments. eBay item number: 162731088209. Seller assumes all responsibility for this listing. Parts Manual for John Deere 350 450 Sickle Bar Mower ... PARTS MANUAL FOR JOHN DEERE 350 450 SICKLE BAR MOWER CATALOG HAY GRASS SICKEL. Peaceful Creek. $ 16.57. SKU: M-50825. JD 350 7' Sickle Mower For 2032R - Green Tractor Talk I'm thinking that a sickle mower makes the most sense, if I can find one that will work without breaking the bank, and also is quick hitch compatible-gotta work smarter these days! I've ran across a John Deere 350 with a seven foot bar, and from the pictures it appears to have quick hitch bushings.

John Deere 350 Mower Parts Manual - Tractor Parts Description Fits: 350 Mower | 450 Mower The Jensales Team is excited to bring you this 38 page Parts Manual for the John Deere 350 Mower. A historically accurate parts manual is essential when ordering parts and doing repairs. Our reproduction manual has exploded views with corresponding descriptions and original John Deere part numbers. JD 350 sickle mower parts - Yesterday's Tractors JD 350 sickle mower parts - Yesterday's Tractors I am looking for a measured drawing or just measurements of Item # 30. It is the offset plate used on a John Deere 350 Sickle Mower when used on an 85 Welcome! Please use the navigational links on your left to explore our website. (800) 853-2651Shop Now TRACTOR PARTS Allis Chalmers Case & David Brown Farm Implement Parts - John Deere Sickle - Trout Underground Here we have a John deere 350 sickle mower pivot arm p/n H62204. This is the part that attaches the counter weight to the sickle blade. This is the part that breaks/wears. john deere wants over 600 for it. The holes as well as the needle bearing are solid. removed from a functional mower. Wiring Harness Kit---Restoration - Walts Tractor Parts ... UT2802 Wiring Harness---Replaces 351325R91 Replaces number 351325R91, IHS893 Fits: Cub s.n. 501 thru 115402 For models with cutout relay (5 …

Guards - Sickle Mower Parts - Hay Parts - Sloan Ex E59625 Non-Clog Mower Conditioner Sickle Guard fits John Deere. Order #: 700254. $16.09. 700254. Ship to your address: FREE pickup in store:: View Details. Webb Cutting Components - John Deere Mower: 350, 450 We offer complete rebuild kits, providing you all the parts you need in a single package. From your twin knife 40ft. draper head, vintage Ford or John Deere sickle mower or your 2in. cut system Montgomery Ward walk-behind garden mower, we have the parts components, and expertise information, we're your one-stop cutting parts store. John Deere 350 Sickle Mower Manual by PDFS-Manuals - Issuu John Deere 350 Sickle Mower Manual. John Deere 350 Crawler Tractor Loader Service Manual -SM2063. Complete Service Manual, available for instant download to your computer, tablet or smart phone.... John Deere Sickle Mower In Antique & Vintage Equipment Parts AE49594 * John Deere 350 Sickle Mower PTO Shaft Shield * Genuine Original * USA! $32.94. $14.45 shipping. or Best Offer.

John Deere 350 Sickle Bar Mower Parts Catalog Manual Hay ...

John Deere 350 Sickle Bar Mower Parts Catalog Manual Hay ...

Sickle Mower Parts - Hay Parts - Sloan Ex E59625 Non-Clog Mower Conditioner Sickle Guard fits John Deere. Order #: 700254. $16.09. 700254. Ship to your address: FREE pickup in store::

Operators Parts Manuals For John Deere 350 Sickle Bar Mower Owner Catalog  Sickel

Operators Parts Manuals For John Deere 350 Sickle Bar Mower Owner Catalog Sickel

John Deere genuine parts for MOWER, SICKLE 350 (ae50639 ... John Deere MOWER, SICKLE 350 genuine parts (e52941, e62951, ae31654, e75369) air freight to Chile from $44.68, Faroe Islands from $31.51, New Caledonia from $36.57

John Deere 9ft 350 Sickle Mower - Yesterday's Tractors

John Deere 9ft 350 Sickle Mower - Yesterday's Tractors

John Deere Manuals | Parts, Service, Repair and Owners Manuals John Deere 350 Mower Manuals: John Deere 350 Plow Manuals: ... John Deere 5 Sickle Bar Mower Manuals: John Deere 50 Corn Sheller Manuals: ... They feature step-by-step procedures so you can operate, repair, service, maintain, and order parts for your John Deere equipment. Whether you're a first-time user or an experienced pro, our complete and ...

John Deere 350 for Sale New & Used | Fastline

John Deere 350 for Sale New & Used | Fastline

Flour Mill Rye [4MH368] Canada's only source for 100% traceable grains, beans, and freshly milled flour. USDA Organic Non GMO Verified. Pumpkin and Caraway Batard. The present mill was built in 1874 by John Caudwell and run as a family business for over a century, before closing in 1978. If you don’t know what great great grandpa's grains taste like, come give it a try.

DRIVE HEAD [B05] - MOWER, SICKLE John Deere 350 - MOWER ...

DRIVE HEAD [B05] - MOWER, SICKLE John Deere 350 - MOWER ...

John Deere 9 Sickle Bar Mower - john deere 38 sickle bar ... John Deere 9 Sickle Bar Mower. Here are a number of highest rated John Deere 9 Sickle Bar Mower pictures upon internet. We identified it from obedient source. Its submitted by admin in the best field. We admit this kind of John Deere 9 Sickle Bar Mower graphic could possibly be the most trending subject with we part it in google benefit or ...

JD No. 8W mower - Implement Alley Forum - Yesterday's Tractors

JD No. 8W mower - Implement Alley Forum - Yesterday's Tractors

John Deere 350, 450 Sickle Mower Parts - Waltstractors.com John Deere 350, 450 Sickle Mower Parts. Walt's Tractor Parts | Hay Baler, Sickle Mower, Disc Mower, Planter and Field Chopper Parts | Sickle Mower Parts | John Deere Sickle Mower Parts | John Deere 350, 450 Sickle Mower Parts.

John Deere 350 Sickle Mower Sickle & Related Parts Sickles ...

John Deere 350 Sickle Mower Sickle & Related Parts Sickles ...

350 - MOWER, SICKLE 350 and 450 Mowers EPC John Deere ... OUTER SHOE DIVIDER. AG CCE. QUICK-HITCH FRAME (CATEGORY 2 HITCH) AG CCE. DECAL KIT (350) AG CCE. DECAL KIT (450) AG CCE. sale parts diagram catalog online construction equipment excavator tractor.

John Deere 3pt Sickle Bar / Mower 10ft - Mode... | John Deere ...

John Deere 3pt Sickle Bar / Mower 10ft - Mode... | John Deere ...

nMhSnn [DFRM37] What is nMhSnn. Likes: 1351. Shares: 676.

Knife Clip, Low A-711-066

Knife Clip, Low A-711-066

virtual-mode.de John Deere 653 6 Row All Crop Header ... 40 Hamilton Avenue, Troy NY, 1/14-16, 9 Sep 14, 2021 · Skid Steer Sickle Mower Attachment. Parts for round balers, disc mowers, flail mowers, rotary cutters, hay ... Hesston 1070 mower conditioner, GC, ,350; Hesston 1071 mower conditioner, FC, Bush Hog finishing mower, model ATH-600, 5 ft cut, 3 pt ...

JOHN DEERE 350 - Lot #GG0563, Agricultural Equipment ...

JOHN DEERE 350 - Lot #GG0563, Agricultural Equipment ...

John Deere Pitman parts, sickles and kits: #5, 7, 8, 9, 37 ... Rebuild Kits We offer complete rebuild kits, providing you all the parts you need in a single package. From your twin knife 40ft. draper head, vintage Ford or John Deere sickle mower or your 2in. cut system Montgomery Ward walk-behind garden mower, we have the parts components, and expertise information, we're your one-stop cutting parts store.

350 - MOWER, SICKLE LIFT FRAME EPC John Deere 24H1494 AG CCE ...

350 - MOWER, SICKLE LIFT FRAME EPC John Deere 24H1494 AG CCE ...

X350 Owner Information | Parts & Service | John Deere US Operator's Manual Parts Diagram Safety and How-To Attachments Specifications Model Page Buy Maintenance Parts Click on deck size below to view Maintenance Reminder Sheet X350 42 in. Accel Deep™ Mower Deck X350 42 in. Mulch Mower Deck X350 48 in. Accel Deep™ Mower Deck Get the John Deere MowerPlus™ app

John Deere 350 & 450 MOWERS RIGHT REAR VIEW OF JOHN DEERE 350 ...

John Deere 350 & 450 MOWERS RIGHT REAR VIEW OF JOHN DEERE 350 ...

PDF John Deere 350 Sickle Mower Operators Manual Get Free John Deere 350 Sickle Mower Operators Manual John Deere 350 Sickle Mower Operators Manual Thank you very much for downloading john deere 350 sickle mower operators manual. Maybe you have knowledge that, people have search hundreds times for their favorite books like this john deere 350 sickle mower operators manual, but end up in ...

John Deere 350 sickle bar mower

John Deere 350 sickle bar mower

Agricultural Equipment Parts - Massey Ferguson 135 Parts Massey Ferguson 135 Parts - Specs. Narrow your search for Massey Ferguson 135 Parts by selecting categories on the left.. The Massey Ferguson 135 Tractor was manufactured from 1954 to 1975. The Massey Ferguson 135 was designed as a utility tractor.The Massey Ferguson 135 was powered by a 45.5 hp Perkins 2.5L 3-cyl diesel or gas engine or a Continental 2.4L 4-cyl …

Operator's Manual SICKLE BAR MOWERS

Operator's Manual SICKLE BAR MOWERS

450 - MOWER, SICKLE 350 and 450 Mowers EPC John Deere ... OUTER SHOE DIVIDER. AG CCE. QUICK-HITCH FRAME (CATEGORY 2 HITCH) AG CCE. DECAL KIT (350) AG CCE. DECAL KIT (450) AG CCE. sale parts diagram catalog online construction equipment excavator tractor.

John Deere 350 9' Sickle Bar Mower BigIron Auctions

John Deere 350 9' Sickle Bar Mower BigIron Auctions

John Deere high quality parts for MOWER, SICKLE 350 air ... John Deere MOWER, SICKLE 350 aftermarket parts delivery to Guernsey from $33.27, Argentina from $44.7, Greenland from $31.5

John Deere 350 Sickle Mower BigIron Auctions

John Deere 350 Sickle Mower BigIron Auctions

John Deere 350 - Mower, Sickle Parts Catalog Manual Pdf ... John Deere 350 – Mower, Sickle Parts Catalog Manual Pdf Download This manual may contain attachments and optional equipment that are not available in your area. Please consult your local distributor for those items you may require. Materials and specifications are subject to change without notice. WARNING: Unsafe Use of this machine may cause serious […]

John Deere 350 Sickle Mower Auction | DreamDirt Farm & Land ...

John Deere 350 Sickle Mower Auction | DreamDirt Farm & Land ...

JOHN DEERE 350 Farm Equipment For Sale - 27 Listings ... Phone: (304) 908-2060. View Details. Email Seller Video Chat. FOR SALE: John Deere 350 Sickle Bar Mower 7' cut Used $1500 firm Location: Johnston Equipment 97 Beechlick Road Horner, WV 26372 Phone: Finance terms: DLL Finance Company Credit Sc...

Trying a JD 350 sickle | My Tractor Forum

Trying a JD 350 sickle | My Tractor Forum

Vertical sickle bar mower New Holland 451, john deere 350 and Quik tatch hitch for john deere #5 mower The adjustable skid shoes on the cutterbar make it easy to control the working height of Frontier™ sickle-bar mowers. 5HP/4000r/min 9) Speed Rate (Engine :furrow): 30:1 10) Torque: 13N 11) Drive Speed Jun 08, 2018 · New Holland 455 (NH455) Sickle mower Bar Vertical Use.

5288) - INTERNATIONAL DIESEL TRACTOR (1/81-12/87) (14-03 ...

5288) - INTERNATIONAL DIESEL TRACTOR (1/81-12/87) (14-03 ...

stopcell.de Flagstaff camper manual Fleetwood RV Red Clearance Light E395. 1553 of used and new campers. up camper parts manual wordpress com, repair guides coleman pop up parts, goshen lift Commonly Used Parts for Flagstaff Pop up Trailers April 18th, 2019 - Commonly used parts for FlagstaffQuality outdoor apparel and gear for camping, backpacking, hiking, and climbing.

901-233 - Sickle Head, LH for John Deere | Up to 60% off Dealer Prices |  TractorJoe.com

901-233 - Sickle Head, LH for John Deere | Up to 60% off Dealer Prices | TractorJoe.com

John Deere 420 Tractor Parts - Yesterday's Tractors John Deere 420 Yesterday's Tractors for sale ... 4000, 4010, 4020, 420 INDUST/CONST, 430 INDUST/CONST, 4320 COMPACT TRACTOR, 440 SKIDDER, 450 RIDING MOWER, 450B INDUST/CONST, 450C INDUST/CONST, 450D INDUST/CONST, 450E ... 4 Legged Deer Decal - Says "John Deere Quality Farm Equipment + Parts and Service" with leaping 4 legged deer, …

PARTS MANUAL FOR JOHN DEERE 350 450 SICKLE BAR MOWER CATALOG ...

PARTS MANUAL FOR JOHN DEERE 350 450 SICKLE BAR MOWER CATALOG ...

methoden-unterstuetzung.de This is the most current part for this model. Gehl RT175 Track Loader: 190. Purple Wave is selling a used Mower, Cutter, Shredder in Iowa. This item is a Bobcat belly mower deck with the following: 66"W, Fits Bobcat CT235 or CT225 tractors, Serial AB4C00171Lawn Mower John Deere Tractor 850 PTO 1979 With Mower Deck.

John Deere 350 9' Sickle Bar Mower BigIron Auctions

John Deere 350 9' Sickle Bar Mower BigIron Auctions

John Deere Model X350 Lawn and Garden Tractor Parts John Deere 20x10.00-8 Single-Ring Tire Chain Set - TY16200. (9) $123.99. Usually available. Add to Cart. Quick View.

John Deere 350 sickle mower in Victoria, KS | Item K8134 sold ...

John Deere 350 sickle mower in Victoria, KS | Item K8134 sold ...

John Deere Sickle Mower Parts - Waltstractors.com John Deere 350, 450 Sickle Mower Parts. Grassboard (Swathboard) Mower Pittman---2014. Knife Clip---2014. Ledger Plates---2014. Guards---2017. Walt's Tractor Parts | Hay Baler, Sickle Mower, Disc Mower, Planter and Field Chopper Parts | Sickle Mower Parts | John Deere Sickle Mower Parts

John Deere No. 5 sickle mower - Yesterday's Tractors

John Deere No. 5 sickle mower - Yesterday's Tractors

Thank you for your interest in In 2014, 0 million worth of property Unleash the power of a car wash in your own garage with the 5 gal. reese drum mower Models include 2400. 5 Ft. NOT FOR PROFITI do not own this content#drum #kick #sample #freedrumkits #redditdrumkits #drumloop #lofidrumkit #lofidrum #producers Family Owned + Operated for Over 40 Years. it 350 mower 9 ft barExpress …

John Deere 350 Sickle Mower Auction | DreamDirt Farm & Land ...

John Deere 350 Sickle Mower Auction | DreamDirt Farm & Land ...

John Deere Parts Diagram & Parts Search - Green Farm Parts John Deere AG, Lawn & Garden and CWP Equipment Parts Search. John Deere parts lookup tool and diagram is an incredible online source. It is a complete catalog that shows you detailed parts diagrams of every part of your machine. This online parts catalog is robust and easy to use. Searching for your John Deere parts online has never been easier.

John Deere 350, #9 or Ford 501 - Implement Alley Forum ...

John Deere 350, #9 or Ford 501 - Implement Alley Forum ...

John Deere 350 3 point sickle bar mower, 540 PTO

John Deere 350 3 point sickle bar mower, 540 PTO

John Deere 350 and 450 Sickle Mower OME58660 Operator's ...

John Deere 350 and 450 Sickle Mower OME58660 Operator's ...

JD 350 sickle mower parts - Yesterday's Tractors

JD 350 sickle mower parts - Yesterday's Tractors

John Deere 350 sickle mower in Kinsley, KS | Item M9125 sold ...

John Deere 350 sickle mower in Kinsley, KS | Item M9125 sold ...

OPERATORS PARTS MANUALS FOR JOHN DEERE 350 450 SICKLE BAR MOWER OWNER  CATALOG | eBay

OPERATORS PARTS MANUALS FOR JOHN DEERE 350 450 SICKLE BAR MOWER OWNER CATALOG | eBay

Viewing a thread - JD #9 Sickle Mower

Viewing a thread - JD #9 Sickle Mower

OPERATORS PARTS MANUALS FOR JOHN DEERE 350 450 SICKLE BAR MOWER OWNER  CATALOG SICKEL

OPERATORS PARTS MANUALS FOR JOHN DEERE 350 450 SICKLE BAR MOWER OWNER CATALOG SICKEL

John Deere 450 Crawler Parts Manual

John Deere 450 Crawler Parts Manual

Sickle Bar Mower For Sale In Tennessee - 04/2022

Sickle Bar Mower For Sale In Tennessee - 04/2022

John Deere 350 sickle mower in Silver Lake, KS | Item BJ9579 ...

John Deere 350 sickle mower in Silver Lake, KS | Item BJ9579 ...

PARTS MANUAL FOR JOHN DEERE 350 450 SICKLE BAR MOWER CATALOG HAY GRASS |  eBay

PARTS MANUAL FOR JOHN DEERE 350 450 SICKLE BAR MOWER CATALOG HAY GRASS | eBay

John Deere 350 & 450 MOWERS RIGHT REAR VIEW OF JOHN DEERE 350 ...

John Deere 350 & 450 MOWERS RIGHT REAR VIEW OF JOHN DEERE 350 ...

Parts Manual For John Deere 350 Sickle Bar Mower Catalog Hay Grass Sickel

Parts Manual For John Deere 350 Sickle Bar Mower Catalog Hay Grass Sickel

Wrist Pin Nut for A22 Sickle Bar Mower for Farmall 140, 130 ...

Wrist Pin Nut for A22 Sickle Bar Mower for Farmall 140, 130 ...

John Deere 5 Sickle Bar Mower Parts Manual

John Deere 5 Sickle Bar Mower Parts Manual

JOHN DEERE 350 Auction Results - 39 Listings | AuctionTime ...

JOHN DEERE 350 Auction Results - 39 Listings | AuctionTime ...

Amazon - Parts Manual John Deere 5 Sickle Bar Mower pc466 ...

Amazon - Parts Manual John Deere 5 Sickle Bar Mower pc466 ...

John Deere 350, 450 Complete Cutterbar Rebuild Kit 9'

John Deere 350, 450 Complete Cutterbar Rebuild Kit 9'

User manual for John Deere no. 8 sickle mower. | My Tractor Forum

User manual for John Deere no. 8 sickle mower. | My Tractor Forum

0 Response to "45 john deere 350 sickle mower parts diagram"

Post a Comment

Iklan Atas Artikel

Iklan Tengah Artikel 1

Iklan Tengah Artikel 2

Iklan Bawah Artikel